首页
产品中心
机油脱压式润滑系统
润滑泵
分配器
机油抵抗式润滑系统
润滑泵
分配器
单点自动润滑注油器
润滑泵
油脂递进式润滑系统
润滑泵
分配器
油脂脱压式润滑系统
润滑泵
分配器
油气油雾式润滑系统
润滑泵
分配器
手动润滑泵
零配件种类
泵浦及马达
耐磨片及AB胶
关于我们
公司简介
发展历程
企业荣誉
社会责任
新闻中心
公司动态
行业动态
技术分享
前沿洞察
解决方案
资料下载
润滑学院
联系我们
EN
电机
主页
>
产品中心
>
油循环润滑系统
>
电机
...
3D模型
PDF文档
CAD文档
油循环润滑系统
电机
3D模型
PDF文档
CAD文档
产品概述
产品参数
应用案例
产品概述
产品参数
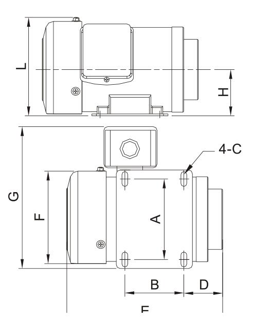
外形尺寸图
/ OUTLINE SIZE DRAWING
技术参数
/ TECHNICAL PARAMETER
应用案例
特点和优势
直臂系列 GTBZ30S
随时与我们联系获得专家帮助
联系电话:0769-81108030
相关产品展示