首页
产品中心
机油脱压式润滑系统
润滑泵
分配器
机油抵抗式润滑系统
润滑泵
分配器
单点自动润滑注油器
润滑泵
油脂递进式润滑系统
润滑泵
分配器
油脂脱压式润滑系统
润滑泵
分配器
油气油雾式润滑系统
润滑泵
分配器
手动润滑泵
零配件种类
泵浦及马达
耐磨片及AB胶
关于我们
公司简介
发展历程
企业荣誉
社会责任
新闻中心
公司动态
行业动态
技术分享
前沿洞察
解决方案
资料下载
润滑学院
联系我们
EN
DPB型容积式分配器
主页
>
产品中心
>
单线润滑系统
>
容积式稀油润滑泵和泵单元
>
DPB型容积式分配器
...
3D模型
PDF文档
CAD文档
容积式稀油润滑泵和泵单元
DPB型容积式分配器
3D模型
PDF文档
CAD文档
产品概述
产品参数
应用案例
产品概述
动作原理图
/ ACTION SCHEMATIC DIAGRAM
1、从油泵中压送出来的润滑油,使分配器中的伞形阀开始往上推动;
2、伞形阀把芯杆中心孔封闭后,迫使活塞克服簧力开始上升,将上腔原存储的润滑油排出;
3、当活塞移至上腔顶点时,排油同时完毕;
4、油泵停止供油时,其卸压自动开启,使主油管内压力油通过卸压阀回油。此时系统压力下降,分配器中的活塞在弹簧作用下开始回复,当伞形回复封闭分配器进油口,则活塞把存储在下腔的润滑油通过芯杆小孔压送到上腔,同时下次的供油也准备完毕。
产品参数
订购代码
/ ORDER CODE
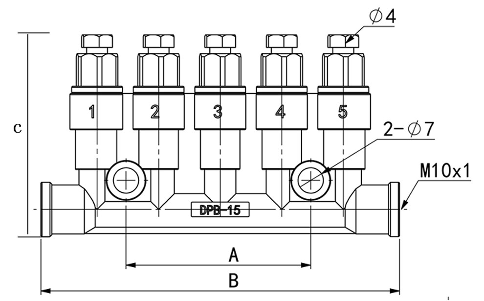
外形尺寸图
/ OUTLINE SIZE DRAWING
技术参数
/ TECHNICAL PARAMETER
应用案例
特点和优势
直臂系列 GTBZ30S
随时与我们联系获得专家帮助
联系电话:0769-81108030
相关产品展示