D D R B-N型多点润滑泵适用于润滑频率低、润滑点在50点以下,公称压力为31.5M P a的多线式中小型机
D D R B-N型多点润滑泵适用于润滑频率低、润滑点在50点以下,公称压力为31.5M P a的多线式中小型机械设备集中润滑系统中,直接或通过单线分配器向润滑点供送润滑脂的输送供油装置。特别适用于冶金、矿山、重机、港口及运输建筑等单机设备。
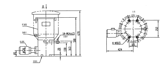
1、润滑泵应安装在便于检查、调整和拆洗方便的地方,并用地脚螺钉紧固,工作场地应元有害气体的侵蚀。
2、该系列润滑泵为室内安装型,在室外或环境恶劣的场合使用时,必须采取防护措施。
3、必须使用干净的润滑脂,因为含有杂质的润滑剂往往是泵和系统产生故障的主要原因。向贮油筒内补充润滑剂必须使用加油泵从电动泵补脂口加入。泵在首次充填润滑脂前,最好先加些润滑油,因为润滑油流动性好,会充满所有的部位,有利于排除空气。
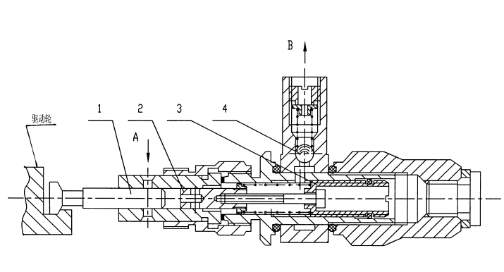
4、给油口数可在1~14范围内任意选择,根据设备需要不用的压油泵元件可以自行拆下,螺孔用M20×1.5螺塞封堵即可。
5、给油量的调整:调节螺套的位置即可获得,螺套位置左移供出油量减小,螺套位置右移供出油量增大。




